Zum Hauptinhalt springen Zur Suche springen Zur Hauptnavigation springen
Aufgrund umfangreicher Systemarbeiten sind Login und Bestellungen im Bohle Online-Shop vom 13.05.2026, 16:00 Uhr, bis 17.05.2026 nicht möglich. Produktinformationen, Inhalte und Downloads bleiben weiterhin verfügbar. Am 14. und 15.05.2026 ist Bohle zudem aufgrund von Betriebsferien nicht erreichbar. Vielen Dank für Ihr Verständnis.

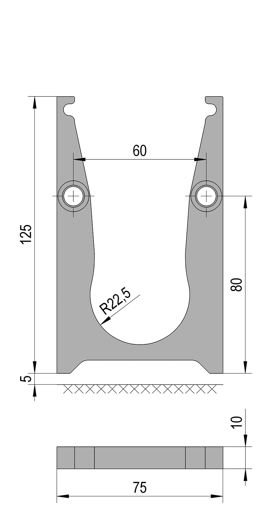
VetroMount® Zwischenverbinder zur Drainage ohne Abdeckprofil

Artikelnummer: BO5403021

Beschreibung

Durch den Einsatz von Zwischenverbindern zur Drainage kann überschüssiges Wasser zügig ablaufen. Sie werden einfach zwischen die Bodenprofile für die Aufsatzmontage gesetzt.

 

Alles anzeigen Weniger anzeigen
Anzahl und Position der Zwischenverbinder muss bauseitig geplant werden.

Anwendungs-Hinweis:
Nur für Bodenprofil U für die Aufsatzmontage und für die Verwendung ohne Abdeckprofile.

Ihre Vorteile

  • Einfache Montage durch Verwendung der Verbindungsstifte BO 5403113.

Technische Details

Ausführung
Fluchtend
Farbe
Alufarbig
Farbnorm
C0
Produktserie
VetroMount¨®
Verpackungsinhalt
1 Stück
max. Holmlast
1 kN

Downloads

pdf
Anleitungen
VetroMount® - Montageanleitung - Instruction Manual
pdf
Zertifikate
VetroMount Allgemeines bauaufsichtliches Prüfzeugnis - Top, Side, F- und Y-Profil
pdf
Zertifikate
VetroMount Allgemeines bauaufsichtliches Prüfzeugnis - Top, Side, F- und Y-Profil mit Distanzstück

Zeichnungen

jpg
BO_5403021_z.jpg
Für weitere Zeichnungen loggen Sie sich bitte ein:

Ausschreibungstext

BOHLE Glasgeländersystem VetroMount® Bodenprofil U
(Aufsatzmontage)

Systemstatik des Herstellers lt.

DIN18008 / AbP liegt vor

Hersteller: Bohle AG

 

Einsatzbereich:

Innen- und Außenbereich

Erforderliche Verschraubung: alle 400 mm

 

Statischer Nachweis:

Öffentlich / Holmlast (kN/m): 1,0

Privat / Holmlast (kN/m): 0,5

 

Montagearten:

- Beton und Stahl

- Attiken ab 400 mm

- geprüftes emailliertes Glas

mit statischer Berechnung: '.........'

 

ohne statischer Berechnung: '.........'

 

 

Für auswählbare Glasdicken:

- 12,76 mm & 13,52 mm

- 16,76 mm & 17,52 mm

- 20,76 mm & 21,52 mm

max. Glashöhe (mm): 1300

Glasbreite ab (mm): 300

 

Montagemerkmale mit Glas:

- patentierte Befestigung (3 Schritte)

- stufenlose Ausrichtung

- sicherer Einbau von der absturzabgewandten Seite

- schnelle Demontage gesamte Glasscheibe

 

VetroMount®(r) Bodenprofil U (Aufsatzmontage)

Farbe: Alufarbig eloxiert E6 C0

Länge 2500 mm (BO 5403008) (Stk): '.........'

 

Länge 5000 mm (BO 5403010) (Stk): '.........'

 

 

VetroMount®(r) Montage-Set

(Glaslager / Gummidichtung)

 

Montageset ohne Abdeckprofil

12,76 mm Länge 2,5 m (BO 5403084) (Stk.): '.........'

 

13,52 mm Länge 2,5 m (BO 5403086) (Stk.): '.........'

 

16,76 mm Länge 2,5 m (BO 5403090) (Stk.): '.........'

 

17,52 mm Länge 2,5 m (BO 5403092) (Stk.): '.........'

 

20,76 mm Länge 2,5 m (BO 5403096) (Stk.): '.........'

 

21,52 mm Länge 2,5 m (BO 5403098) (Stk.): '.........'

 

12,76 mm Länge 5,0 m (BO 5403085) (Stk.): '.........'

 

13,52 mm Länge 5,0 m (BO 5403087) (Stk.): '.........'

 

16,76 mm Länge 5,0 m (BO 5403091) (Stk.): '.........'

 

17,52 mm Länge 5,0 m (BO 5403093) (Stk.): '.........'

 

20,76 mm Länge 5,0 m (BO 5403097) (Stk.): '.........'

 

21,52 mm Länge 5,0 m (BO 5403099) (Stk.): '.........'

 

 

Montageset mit Abdeckprofil

12,76 mm Länge 2,5 m (BO 5403068) (Stk.): '.........'

 

13,52 mm Länge 2,5 m (BO 5403070) (Stk.): '.........'

 

16,76 mm Länge 2,5 m (BO 5403074) (Stk.): '.........'

 

17,52 mm Länge 2,5 m (BO 5403076) (Stk.): '.........'

 

20,76 mm Länge 2,5 m (BO 5403080) (Stk.): '.........'

 

21,52 mm Länge 2,5 m (BO 5403082) (Stk.): '.........'

 

12,76 mm Länge 5,0 m (BO 5403069) (Stk.): '.........'

 

13,52 mm Länge 5,0 m (BO 5403071) (Stk.): '.........'

 

16,76 mm Länge 5,0 m (BO 5403075) (Stk.): '.........'

 

17,52 mm Länge 5,0 m (BO 5403077) (Stk.): '.........'

 

20,76 mm Länge 5,0 m (BO 5403081) (Stk.): '.........'

 

21,52 mm Länge 5,0 m (BO 5403083) (Stk.): '.........'

 

 

OPTIONALES ZUBEHÖR

 

VetroMount®(r) Abdeckprofil oben

Material: Aluminium

 

Farbe: Alufarbig eloxiert E6 C0

Länge 2,5 m (BO 5403016) (Stk): '.........'

 

Länge 5,0 m (BO 5403018) (Stk): '.........'

 

 

Farbe: Edelstahleffekt eloxiert E4 C31

Länge 2,5 m (BO 5403017) (Stk): '.........'

 

Länge 5,0 m (BO 5403019) (Stk): '.........'

 

 

VetroMount®(r) Abdeckprofil seitlich

Material: Aluminium

 

Farbe: Alufarbig eloxiert E6 C0

Länge 2,5 m (BO 5403012) (Stk): '.........'

 

Länge 5,0 m (BO 5403014) (Stk): '.........'

 

 

Farbe: Edelstahleffekt eloxiert E4 C31

Länge 2,5 m (BO 5403013) (Stk): '.........'

 

Länge 5,0 m (BO 5403015) (Stk): '.........'

 

 

VetroMount®(r) Bauanschlussprofile

Material: Aluminium

 

Farbe: Alufarbig eloxiert E6 C0

Öffnungsweite (mm): 3

Länge 2,5 m (BO 5403036) (Stk): '.........'

 

 

Farbe: Alufarbig eloxiert E6 C0

Öffnungsweite (mm): 10+20

Länge 2,5 m (BO 5403037) (Stk): '.........'

 

 

VetroMount®(r) Bodenanschlussprofile

Material: Aluminium

Farbe: Alufarbig eloxiert E6 C0

Länge 2,5 m (BO 5403038) (Stk): '.........'

 

 

VetroMount®(r) Zwischenverbinder

(zur Drainage)

Material: Aluminium

VetroMount®(r) Zwischenverbinder überlappend

(Verwendung ohne Abdeckprofile)

Farbe: Alufarbig eloxiert E6 C0

(BO 5403020) (Stk): '.........'

 

 

VetroMount®(r) Zwischenverbinder flächenbündig

(Verwendung ohne Abdeckprofile)

Farbe: Alufarbig eloxiert E6 C0

(BO 5403021) (Stk): '.........'

 

 

VetroMount®(r) Zwischenverbinder flächenbündig

(Verwendung mit Abdeckprofile)

Farbe: Alufarbig eloxiert E6 C0

(BO 5403022) (Stk): '.........'

 

 

Farbe: Edelstahleffekt eloxiert E4 C31

(BO 5403023) (Stk): '.........'

 

 

VetroMount®(r) Verbindungsstifte

(für Grundprofil und Zwischenverbinder zur Drainage)

50 mm Länge/Dm 8 mm (BO 5403113) (Stk.): '.........'

 

 

VetroMount®(r) Endkappen

(für Bodenprofil)

Material: Aluminium

 

VetroMount®(r) Endkappen ohne Abdeckprofile

Farbe: Alufarbig eloxiert E6 C0

(BO 5403108) (Stk): '.........'

 

 

Farbe: Edelstahleffekt eloxiert E4 C31

(BO 5403109) (Stk): '.........'

 

 

VetroMount®(r) Endkappen mit Abdeckprofile

Farbe: Alufarbig eloxiert E6 C0

(BO 5403110) (Stk): '.........'

 

 

Farbe: Edelstahleffekt eloxiert E4 C31

(BO 5403111) (Stk): '.........'

 

VetroMount®(r) Ecken

(für Bodenprofil U)

Material: Aluminium

 

VetroMount®(r) Ecke für Bodenprofil U

Farbe: Alufarbig eloxiert E6 C0

(BO 5403180) (Stk): '.........'

 

 

VetroMount®(r) Entwässerungsklotz

(für Bodenprofil U)

Material: Aluminium

Farbe: Alufarbig eloxiert E6 C0

(BO 5403117) (13 Stk): '.........'

 

 

HILTI Betonschraube HUS3-H 10

Länge: 100mm

VE: 50 Stück

Material: Stahl verzinkt für Innenbereich

(BO 5211160) (Stk): '.........'

 

 

HILTI Betonschraube HUS-HR 10

Länge: 105mm

VE: 25 Stück

Material: Edelstahl V4A für Außenbereich

(BO 5211161) (Stk): '.........'

 

 

VetroMount®(r) Montagehilfe

(BO 5403116) (Stk): '.........'

 

 

Distanzgummi für Glaselemente

Länge: 1000mm

Dicke: 5mm für 12,76/13,52mm

(BO 5403024) (Stk): '.........'

 

Dicke: 5mm für 16,76/17,52mm

(BO 5403025) (Stk): '.........'

 

Dicke: 5mm für 20,76/21,52mm

(BO 5403026) (Stk): '.........'

 

Dicke: 10mm für 12,76/13,52mm

(BO 5403027) (Stk): '.........'

 

Dicke: 10mm für 16,76/17,52mm

(BO 5403028) (Stk): '.........'

 

Dicke: 10mm für 20,76/21,52mm

(BO 5403029) (Stk): '.........'

 

 

Menge:            

               Stk        Preis:  

               €            GP:      

               €

Alles anzeigen Weniger anzeigen

Mehr entdecken

Produktgalerie überspringen

Das könnte Sie auch interessieren

+ 5 Ausführungen
Veribor® Pumpensaugheber, Aluminium
Art.-Nr.: BO601
  • Ausführung: Manuell
  • Material: Aluminium
  • Oberflächengeometrie: Plan
  • Tragkraft: 120 kg
+ 5 Ausführungen
Veribor® Pumpensaugheber, Kunststoff
Art.-Nr.: BO601G
  • Ausführung: Manuell
  • Material: Kunststoff (ABS)
  • Oberflächengeometrie: Plan
  • Tragkraft: 120 kg
Veribor® Kunststoff Saugheber 3-Kopf
Art.-Nr.: BO603.1G
  • Oberflächengeometrie: Plan
  • Tragkraft: 90 kg
  • Verpackungsinhalt: 1 Stück