Das Anschlagduschtürband Arta Glas-Glas 180° hat eine Tragkraft von 40 kg. Es lassen sich Türen bis zu 1 x 2 m realisieren. Das Band besitzt eine Hebe-Senkfunktion und ist u.a. für 180° Faltglaswände konzipiert.
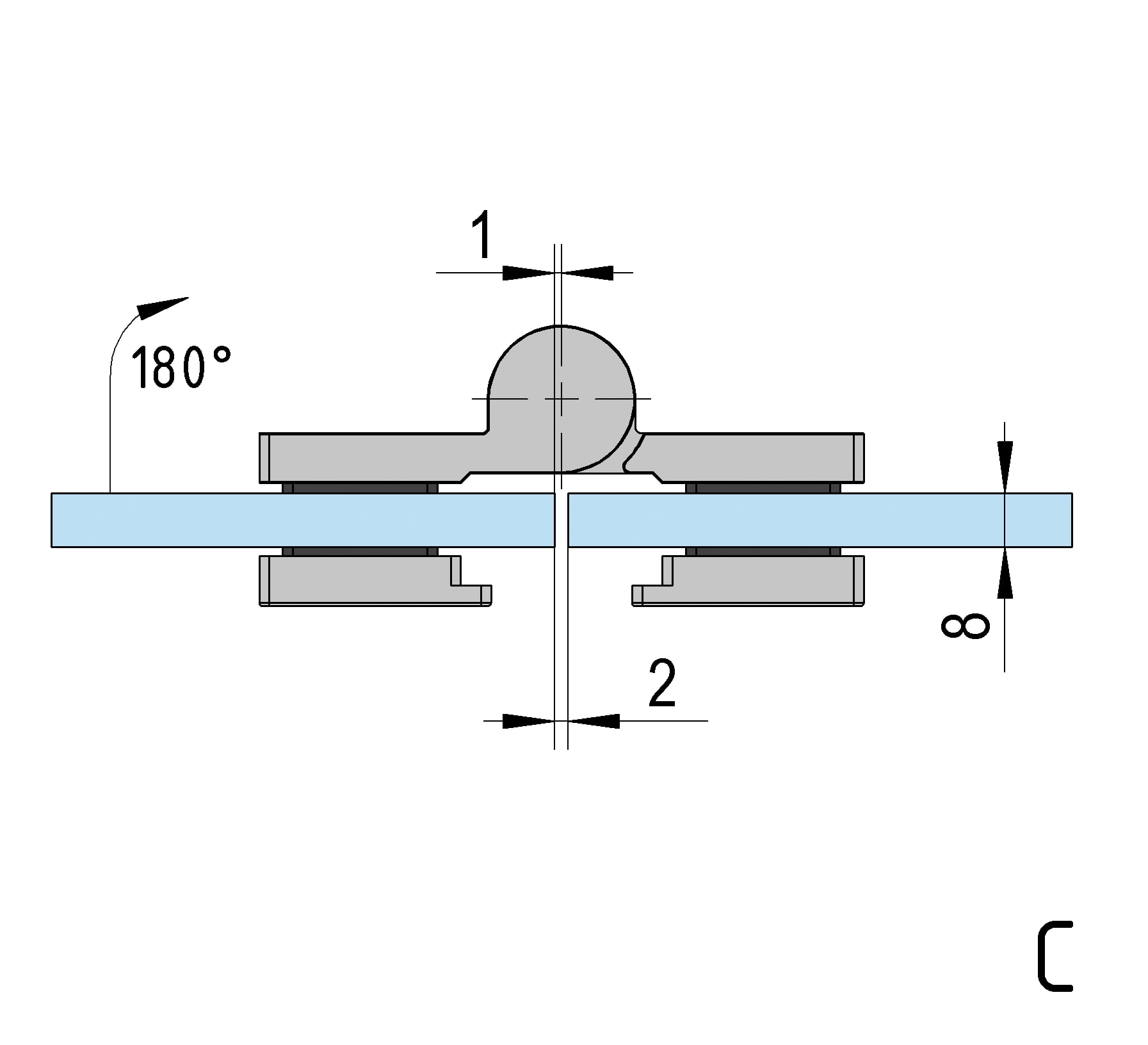
Die Einstellung der Nulllage wird ermöglicht durch eine Schraube, die sich an der Unterseite des Bandes befindet. Die Hebe-Senkfunktion mit 5 mm Hubhöhe ermöglicht ein selbständiges Schließen der Duschtür. Bedingt durch das Absenken der Tür beim Schließen, kann aufgrund eines erhöhten Dichtungsandruckes eine bessere Dichtigkeit erreicht werden. Das Duschtürband eignet sich hervorragend für barrierefreie, ebenerdige Bäder. Passende Aufmaßblätter für Ihre Einbausituation finden Sie hier.
Über die Produktserie Arta:
Die Arta Serie überzeugt mit klarem Design und vielen Funktionalitäten, wie z. B. dem integrierten Hebe-Senk-Mechanismus und der stufenlosen Nulllageneinstellung. Die umfangreiche Serie besteht aus vielen Varianten und ermöglicht damit die Realisierung verschiedenster Einbausituationen. Robuste Materialien im Inneren des Bandes garantieren eine lange Lebensdauer.
Alles anzeigenWeniger anzeigen
Ihre Vorteile
Duschtürdichtungen können durch das Band geführt werden
Stufenlose Nulllageneinstellung
Hebe-Senk Mechanismus mit 5 mm Hubhöhe
Verdeckt liegende Schrauben
Abdeckkappen mit Clipstechnik
Nur Glasbohrungen erforderlich
Alles anzeigenWeniger anzeigen
Technische Details
DIN Richtung
DIN links
Einstellbare Nulllage
Ja
Feststellung
90°
Flächenbündig
Nein
Glanzgrad
Glänzend
Glasbearbeitung erforderlich
Ja
Glasdicke ESG
6 - 10 mm
Hebe-Senk-Funktion
Ja
Material
Messing
Montageart
Glas-Glas
Nach innen / außen öffnend
Nach außen öffnend
Oberfläche
Verchromt
Produktserie
Arta
Rückholzone
Ja
Schrauben am Band verdeckt
Ja
Selbstschließend ab
60°
Türart
Anschlagtür
Türbreite max.
1.000 mm
Türgewicht pro Paar max.
40 kg
Türhöhe max.
2.000 mm
Verpackungsinhalt
1 Stück
Wandbefestigung verdeckt
Ja
Alles anzeigenWeniger anzeigen
Downloads
pdf
Anleitungen
Wartungs-und Pflegehinweise
pdf
Anleitungen
BO5215xxxL - BO5215xxxR - Shower door hinge Arta - glass-glass 180 - Instruction Manual
Zeichnungen
jpg
BO5215532L-BO5215672L-BO5215673L-Z1.jpg
jpg
BO5215532L-BO5215672L-BO5215673L-Z2.jpg
jpg
BO5215532L-BO5215672L-BO5215673L-Z3.jpg
jpg
BO5215532L-BO5215672L-BO5215673L-Z4.jpg
jpg
BO5215532L-BO5215672L-BO5215673L-Z5.jpg
jpg
BO5215532L-BO5215672L-BO5215673L-Z6.jpg
jpg
BO5215532L-BO5215672L-BO5215673L-Z7.jpg
jpg
BO5215532L-BO5215672L-BO5215673L-Z8.jpg
jpg
BO5215532L-BO5215672L-BO5215673L-Z9.jpg
jpg
BO5215532L-BO5215672L-BO5215673L-Z10.jpg
jpg
BO5215532L-BO5215672L-BO5215673L-Z11.jpg
jpg
BO5215532L-BO5215672L-BO5215673L-Z12.jpg
jpg
BO5215532L-BO5215672L-BO5215673L-Z13.jpg
jpg
BO5215532L-BO5215672L-BO5215673L-Z14.jpg
jpg
BO5215532L-BO5215672L-BO5215673L-Z15.jpg
jpg
BO5215532L-BO5215672L-BO5215673L-Z16.jpg
jpg
BO5215532L-BO5215672L-BO5215673L-Z17.jpg
jpg
BO5215532L-BO5215672L-BO5215673L-Z18.jpg
jpg
BO5215532L-BO5215672L-BO5215673L-Z19.jpg
jpg
BO5215532L-BO5215672L-BO5215673L-Z20.jpg
Für weitere Zeichnungen loggen Sie sich bitte ein:
4731d001c8c61a79b0c00004ac1deadfDuschtürband Arta, Glas-Glas 180° https://www.bohle.com/at-DE/Duschtuerband-Arta-Glas-Glas-1800/BO5215532Lhttps://media.bohle.com/media/74/96/9b/1779283744/BO5215532L-PF1-2D.png?ts=1779588416InStock1199998.8EURBO5215532L4731d001c8c61a79b0c00004ac1deadfDIN linksVerchromt glänzendArta40 kg1 StückJaMessing1.000 mmJaJa6 - 10 mmJaNeinVerchromtJaGlas-GlasJaAnschlagtür60°2.000 mmNach außen öffnendGlänzend90°300Die Einstellung der Nulllage wird ermöglicht durch eine Schraube, die sich an der Unterseite des Bandes befindet. Die Hebe-Senkfunktion mit 5 mm Hubhöhe ermöglicht ein selbständiges Schließen der Duschtür. Bedingt durch das Absenken der Tür beim Schließen, kann aufgrund eines erhöhten Dichtungsandruckes eine bessere Dichtigkeit erreicht werden. Das Duschtürband eignet sich hervorragend für barrierefreie, ebenerdige Bäder. Passende Aufmaßblätter für Ihre Einbausituation finden Sie hier.{"extensions":[],"displayParent":false,"mainVariantId":null,"configuratorGroupConfig":[{"id":"826d83a67d90466488545267b0bd0b4e","expressionForListings":true},{"id":"dd850370ba603feb16af35a52be65160","expressionForListings":true}],"displayCheapestVariant":null,"displayMainVariant":null}truetrueDuschscharnier, Duschtürscharnier, Scharnier, BO 5215532L, BO5215532L, 5215532L4731d001c8c61a79b0c00004ac1deadfDuschtürband Arta, Glas-Glas 180° 1199998.81199998.8https://www.bohle.com/at-DE/Duschtuerband-Arta-Glas-Glas-1800/BO5215532Lhttps://media.bohle.com/media/74/96/9b/1779283744/BO5215532L-PF1-2D.png?ts=1779588416InStockBO5215532L4731d001c8c61a79b0c00004ac1deadfDIN linksVerchromt glänzendArta40 kg1 StückJaMessing1.000 mmJaJa6 - 10 mmJaNeinVerchromtJaGlas-GlasJaAnschlagtür60°2.000 mmNach außen öffnendGlänzend90°300Die Einstellung der Nulllage wird ermöglicht durch eine Schraube, die sich an der Unterseite des Bandes befindet. Die Hebe-Senkfunktion mit 5 mm Hubhöhe ermöglicht ein selbständiges Schließen der Duschtür. Bedingt durch das Absenken der Tür beim Schließen, kann aufgrund eines erhöhten Dichtungsandruckes eine bessere Dichtigkeit erreicht werden. Das Duschtürband eignet sich hervorragend für barrierefreie, ebenerdige Bäder. Passende Aufmaßblätter für Ihre Einbausituation finden Sie hier.{"extensions":[],"displayParent":false,"mainVariantId":null,"configuratorGroupConfig":[{"id":"826d83a67d90466488545267b0bd0b4e","expressionForListings":true},{"id":"dd850370ba603feb16af35a52be65160","expressionForListings":true}],"displayCheapestVariant":null,"displayMainVariant":null}truetrueDuschscharnier, Duschtürscharnier, Scharnier, BO 5215532L, BO5215532L, 5215532L/Home ES/BX/BX/Home/IT/SE/INT/ZA/IT/Home/SE/Home/INT/Home/ZA/Home/BALTIC/BALTIC/Home BALTIC/AT/AT/Home AT/AT/Home AT/Online-Shop/AT/Home AT/Online-Shop/Glasbeschläge/AT/Home AT/Online-Shop/Glasbeschläge/Bad und Dusche/AT/Home AT/Online-Shop/Glasbeschläge/Bad und Dusche/Duschtürbänder/AT/Home AT/Online-Shop/Glasbeschläge/Bad und Dusche/Duschtürbänder/Bänder/FR/BX/Home/Online-Shop/BX/Home/Online-Shop/Glasbeschläge/UK/UK/Home/UK/Home/Online-Shop/BALTIC/Home BALTIC/Online-Shop/BALTIC/Home BALTIC/Online-Shop/Glasbeschläge/BALTIC/Home BALTIC/Online-Shop/Glasbeschläge/Bad und Dusche/BALTIC/Home BALTIC/Online-Shop/Glasbeschläge/Bad und Dusche/Duschtürbänder/BALTIC/Home BALTIC/Online-Shop/Glasbeschläge/Bad und Dusche/Duschtürbänder/Bänder/UK/Home/Online-Shop/Glasbeschläge/UK/Home/Online-Shop/Glasbeschläge/Bad und Dusche/IT/Home/Online-Shop/IT/Home/Online-Shop/Glasbeschläge/IT/Home/Online-Shop/Glasbeschläge/Bad und Dusche/IT/Home/Online-Shop/Glasbeschläge/Bad und Dusche/Duschtürbänder/FR/Home/FR/Home/Online-Shop/SE/Home/Online-Shop/SE/Home/Online-Shop/Glasbeschläge/Home ES/Online-Shop/Home ES/Online-Shop/Glasbeschläge/Home ES/Online-Shop/Glasbeschläge/Bad und Dusche/UK/Home/Online-Shop/Glasbeschläge/Bad und Dusche/Duschtürbänder/UK/Home/Online-Shop/Glasbeschläge/Bad und Dusche/Duschtürbänder/Bänder/DE/DE/Home/DE/Home/Online-Shop/DE/Home/Online-Shop/Glasbeschläge/DE/Home/Online-Shop/Glasbeschläge/Bad und Dusche/BX/Home/Online-Shop/Glasbeschläge/Bad und Dusche/BX/Home/Online-Shop/Glasbeschläge/Bad und Dusche/Duschtürbänder/ZA/Home/Online-Shop/ZA/Home/Online-Shop/Glasbeschläge/ZA/Home/Online-Shop/Glasbeschläge/Bad und Dusche/ZA/Home/Online-Shop/Glasbeschläge/Bad und Dusche/Duschtürbänder/ZA/Home/Online-Shop/Glasbeschläge/Bad und Dusche/Duschtürbänder/Bänder/INT/Home/Online-Shop/INT/Home/Online-Shop/Glasbeschläge/Home ES/Online-Shop/Glasbeschläge/Bad und Dusche/Duschtürbänder/FR/Home/Online-Shop/Glasbeschläge/FR/Home/Online-Shop/Glasbeschläge/Bad und Dusche/Home ES/Online-Shop/Glasbeschläge/Bad und Dusche/Duschtürbänder/Bänder/DE/Home/Online-Shop/Glasbeschläge/Bad und Dusche/Duschtürbänder/DE/Home/Online-Shop/Glasbeschläge/Bad und Dusche/Duschtürbänder/Bänder/SE/Home/Online-Shop/Glasbeschläge/Bad und Dusche/SE/Home/Online-Shop/Glasbeschläge/Bad und Dusche/Duschtürbänder/SE/Home/Online-Shop/Glasbeschläge/Bad und Dusche/Duschtürbänder/Bänder/FR/Home/Online-Shop/Glasbeschläge/Bad und Dusche/Duschtürbänder/INT/Home/Online-Shop/Glasbeschläge/Bad und Dusche/IT/Home/Online-Shop/Glasbeschläge/Bad und Dusche/Duschtürbänder/Bänder/BX/Home/Online-Shop/Glasbeschläge/Bad und Dusche/Duschtürbänder/Bänder/FR/Home/Online-Shop/Glasbeschläge/Bad und Dusche/Duschtürbänder/Bänder/INT/Home/Online-Shop/Glasbeschläge/Bad und Dusche/Duschtürbänder/INT/Home/Online-Shop/Glasbeschläge/Bad und Dusche/Duschtürbänder/Bänder/online-shop/glasbeschlaege/bad-und-dusche/duschtuerbaender/baender/online-shop/glasbeschlaege/bad-und-dusche/duschtuerbaender/online-shop/glasbeschlaege/online-shop/online-shop/glasbeschlaege/bad-und-dusche018e50bac1ed76ce8bf0c35226592d1a018e50bb1be67859a929e4c5bc3bd6890190104bbd4f745488cc81926fe14e210190104beb4675689b34351165d1709c01905d74ec5a7cb9a22a62ad6f7b346a01905d75002671d3bde490622370a83e01905d750f927774ac389f1bc7ee592a01905d751c8b7dbe89d67acbd6d21c1401905d75470f7ca79285ebdc8a21461001905d7584b57966a59712fdee1a88d701905d75b719778da8830895a707808c01905d75e59570bfad9e7d3133e4c310019730a561167ea5923a0fadfc39690d019730c8e5507da2ad3d80d085ea1c04113cf13a64774b23ac6fcb408750ccd41560e2e901044847a6a0b9442c6e712615a3fe504bb14d32b085baa84b4870cc19b829eb01f14f9d8ee96b1f352d1ae81a60ec24a1384c5f9066f37bf0167bf31d26523802814b0e943ee6d9eca42ee2283b041df1e547c5b59701b8d1388eee300155dd8adb4779975c2d2de42f0a2f304a033402934e11876cb4a4a92a140334277a09ad51470eb88aa0c54553067036f7d6e065534f95a4eadf83142ff82c3763fcb89a2d4bb086df99f22f666282404e495c53614121a2c4966e71c11f8a40b191f230174db4ad909017143c7e8143469537b8ca2c5e6a97371388e7d4fa484e6e9fb19f4b35a5f87425b504c9584de502435c574f5db870e2b6f8fed6415381b49a9bdeee846dbd999ac06c80035aa7627b91154164a24cddbca7fc87a55aad239ba00c4ac2a2cdd73308c99b665b7c842f6c6340e88181d467fd1ef54260ca51a66680c3be5d489cb1cfa862bf66fcf6e886eb46e489e6dd64f4244cb767780089f6be4d529b1dc2fdb78e7042684b113e133a4ce6afdf0a557616c78e68f404c1501f45cea5d15bf6dd52c1cf72c7038908944dc59a5a76a095809397737cd764c4984152bad5d91d28a0df39756ac1bea115494f8afb03e28ba27e1075ad515d420d9f08dfeac744fa50065876e9b0d9f12c41b291dc8177a11bea70789540d56f0a4fc282cd9ba444bdf0ef7ac787c97b304a538f158297cc1185d57d88e757407d4891912b18061526d5217f93944c82c34bf196fdc96753b5b2cd7fa945348820495696191318882f9fff92395593106240dabe2f9a084adb2706975c0400b53e44fe81fcbe5353e593a097fa1fe428b0472e8415135381c042849e48ffa3bc35450bb62d7e0bf43a55e9a58adce92dc50f5e3456d80d75ad6dbfa89b71fbd79f4014b23f1e3062b788daa9164d12f8754e669c9646c862f789e4a9563a6053a74518af2635139f6a024caaa7170731eb4681a2605d76693ec824af479c1851f84517b340cfaa3d4fa32db4a0e3b57ae546b4b018896095bfe018bfe04318f626421fac4d0a9d3dd23e88c38f097383d3471aa86eacf4dde1de93cb30aad30668e6a2d7b81eb6a183c79ace3353c8c4c342aaed8fce29ef53c252d7949beb8a39424f889a8b40a8a6c6afdd409812401b4ca69a950743d8dad7d6e0a742e5685b4438a7ca5d47d575dca2ea85c8b96cfcc790d5b30bf6eca0852aed49ad82de7b48d18974022c7c948f68eddb97ce56cc476c9f6b4ab5c1571c31eef7f8c21aaa42c0b27f5c9f39b49435f04067f8262e41e890f040fe81565bf7f252054cdb9c48b1897369e0455f52ecf93c7db3964c488290c27af7525ae07bfef50ad352314fada9d7e5fae0adb8e4ff929ad7e3b24b4da56890df93ad8716018e50bac1ed76ce8bf0c35226592d1a0190104bbd4f745488cc81926fe14e2101905d74ec5a7cb9a22a62ad6f7b346a01905d75002671d3bde490622370a83e01905d750f927774ac389f1bc7ee592a01905d751c8b7dbe89d67acbd6d21c14019730a561167ea5923a0fadfc39690d756ac1bea115494f8afb03e28ba27e1034277a09ad51470eb88aa0c545530670a58adce92dc50f5e3456d80d75ad6dbf75ad515d420d9f08dfeac744fa500658cb30aad30668e6a2d7b81eb6a183c79a43469537b8ca2c5e6a97371388e7d4fa0190104beb4675689b34351165d1709c97fa1fe428b0472e8415135381c042849e48ffa3bc35450bb62d7e0bf43a55e9737cd764c4984152bad5d91d28a0df39019730c8e5507da2ad3d80d085ea1c04c38f097383d3471aa86eacf4dde1de9372c7038908944dc59a5a76a095809397304a033402934e11876cb4a4a92a1403ed49ad82de7b48d18974022c7c948f6819b829eb01f14f9d8ee96b1f352d1ae81d26523802814b0e943ee6d9eca42ee201905d75470f7ca79285ebdc8a214610404e495c53614121a2c4966e71c11f8a7d88e757407d4891912b18061526d521484e6e9fb19f4b35a5f87425b504c9581560e2e901044847a6a0b9442c6e7126789540d56f0a4fc282cd9ba444bdf0ef01905d7584b57966a59712fdee1a88d7fef50ad352314fada9d7e5fae0adb8e4018e50bb1be67859a929e4c5bc3bd689f04067f8262e41e890f040fe81565bf7ff929ad7e3b24b4da56890df93ad8716283b041df1e547c5b59701b8d1388eee67780089f6be4d529b1dc2fdb78e7042a89b71fbd79f4014b23f1e3062b788da5aa7627b91154164a24cddbca7fc87a5ce3353c8c4c342aaed8fce29ef53c25260ca51a66680c3be5d489cb1cfa862bf15a3fe504bb14d32b085baa84b4870cc7ac787c97b304a538f158297cc1185d501905d75e59570bfad9e7d3133e4c310684b113e133a4ce6afdf0a557616c78ea9563a6053a74518af2635139f6a024ceef7f8c21aaa42c0b27f5c9f39b49435b4a0e3b57ae546b4b018896095bfe01801905d75b719778da8830895a707808c66fcf6e886eb46e489e6dd64f4244cb740b191f230174db4ad909017143c7e8136f7d6e065534f95a4eadf83142ff82ce0a742e5685b4438a7ca5d47d575dca276e9b0d9f12c41b291dc8177a11bea705381b49a9bdeee846dbd999ac06c8003ea85c8b96cfcc790d5b30bf6eca0852a3763fcb89a2d4bb086df99f22f666282f252054cdb9c48b1897369e0455f52ecaaa7170731eb4681a2605d76693ec8247f93944c82c34bf196fdc96753b5b2cd68f404c1501f45cea5d15bf6dd52c1cf300155dd8adb4779975c2d2de42f0a2f5aad239ba00c4ac2a2cdd73308c99b66a9164d12f8754e669c9646c862f789e4af479c1851f84517b340cfaa3d4fa32df93c7db3964c488290c27af7525ae07bDas Anschlagduschtürband Arta Glas-Glas 180° hat eine Tragkraft von 40 kg. Es lassen sich Türen bis zu 1 x 2 m realisieren. Das Band besitzt eine Hebe-Senkfunktion und ist u.a. für 180° Faltglaswände konzipiert.1199998.8